
華康安全運維管理系統(簡稱:堡壘機)可對主機、服務器、網絡設備、安全設備等的管理維護進行安全、有效、直觀的操作審計,對策略配置、系統維護、內部訪問等進行詳細的記錄,提供細粒度的審計,并支持操作過程的全程回放。
華康安全運維管理系統彌補了傳統審計系統的不足,將運維審計由事件審計提升為內容審計,并將身份認證、授權、管理、審計有機結合,保證只有合法用戶才能使用其擁有運維權限的關鍵資源。
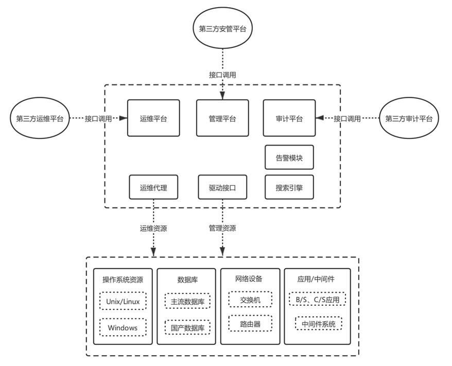
華康安全運維管理系統為組織在IT操作風險控制、內控安全和合規性等方面提供了完善、有效的審計手段。
認證管理指定全局主、從認證方式;配置本地或第三方認證參數;提供用戶的登錄認證校驗。
組織機構配置區域化層級管理的組織機構。
資源管理對服務器、設備、數據庫、應用等資源進行定義和管理;以組織機構形式展示資源信息。
資源賬號管理定義和管理資源賬號基本信息;維護資源賬號的口令與權限等安全屬性;對賬號可用性進行檢測,檢測非法資源賬號;凍結或解凍資源賬號。
資源訪問授權基于崗位授權,向崗位中添加用戶,用戶自動授權崗位所綁定的資源;向崗位中添加資源,崗位綁定的用戶自動授權新添加的資源;為崗位授權添加安全策略可實現對資源的訪問控制和審計。
角色管理定義角色;維護基于組織機構的細粒度權限。
系統訪問授權基于組織機構完成細粒度授權,實現地域化層級管理;支持三權分立。
單點登錄運維入口,以崗位作為導向顯示所有有權限訪問的資源;支持HTML5無插件化訪問資源;兼容控件方式。
工單管理派發式運維工單,申請人提出請求,審批人審批并分配權限,指定執行人執行,完成工單記錄審計。
自動化運維支持對網絡設備定義執行命令和交互命令完成自動化運維任務。
安全管理訪問控制類策略包含系統對訪問時間、訪問地址的限制,對認證失敗次數的限制,對資源訪問的限制、對資源命令操作的限制、對文件傳輸的限制、對剪切板的控制等;審計類策略包含是否記錄操作錄像、操作命令、輸入輸出審計、剪切板審計等,以及錄像對質量的要求等;口令策略限制口令的組成規范等;賬號策略配合崗位授權,規范管理資源運維賬號。
審計管理包含行為審計、管理審計和認證審計;記錄用戶登錄系統后的操作審計,包含通過系統訪問資源的審計;基于告警策略對審計進行分析觸發告警;對審計日志進行分析形成報表。
搜素引擎將用戶的操作行為收集記錄;配合后續增加的知識庫及分析模型,對用戶的操作行為進行預判等;搜索以往企業運維所積累的組織過程資產。
在信息管理層和生產管理層部署堡壘機,對服務器、網絡設備、安全設備進行日常操作與運維的安全防護,使用數字證書作為數據庫系統身份認證方式。強制規定密碼復雜度規則、密碼有效時限、密碼長度、密碼嘗試次數、密碼鎖定等。僅設置一位管理員具備系統權限,其余數據庫賬號僅授予能夠滿足使用需求的最小權限。堡壘機扮演著看門者的職責,所有對網絡設備和服務器的請求都要從這扇大門經過。因此安全管理與審計系統能夠攔截非法訪問和惡意攻擊,對不合法命令進行阻斷、過濾掉所有對目標設備的非法訪問行為并記錄詳細信息。堡壘機具備輸入輸出審計功能,不僅能夠詳細記錄用戶操作的每一條指令,而且能夠將所有的輸出信息全部記錄下來;具備審計回放功能,能夠模擬用戶的在線操作過程,豐富和完善了網絡的審計功能。安全管理與審計系統能夠在自身記錄審計信息的同時在外部某臺計算機上做存儲備份,可以極大增強審計信息的安全性,保證審計人員有據可查。系統管理員可以通過多種查詢條件查看審計信息。堡壘機保護單位內部網絡設備及服務器資源的安全性,使得單位內部網絡管理合理化和專業化。
